
E120
2.6.2010
Patent E120 - IP Portfolio A1
Fail-Safe Accumulator Dump
Inventors: H. Leiber, V. Unterfrauner, C. Köglsperger
1 Core Innovation
Patent
E120DE/E120US
Fail-Safe Accumulator Pressure Dump
Patent Status : Granted
Patent E120DE (DE102010022493)
Keyword: Fail-Safe Accumulator Pressure Dump
Claim Features
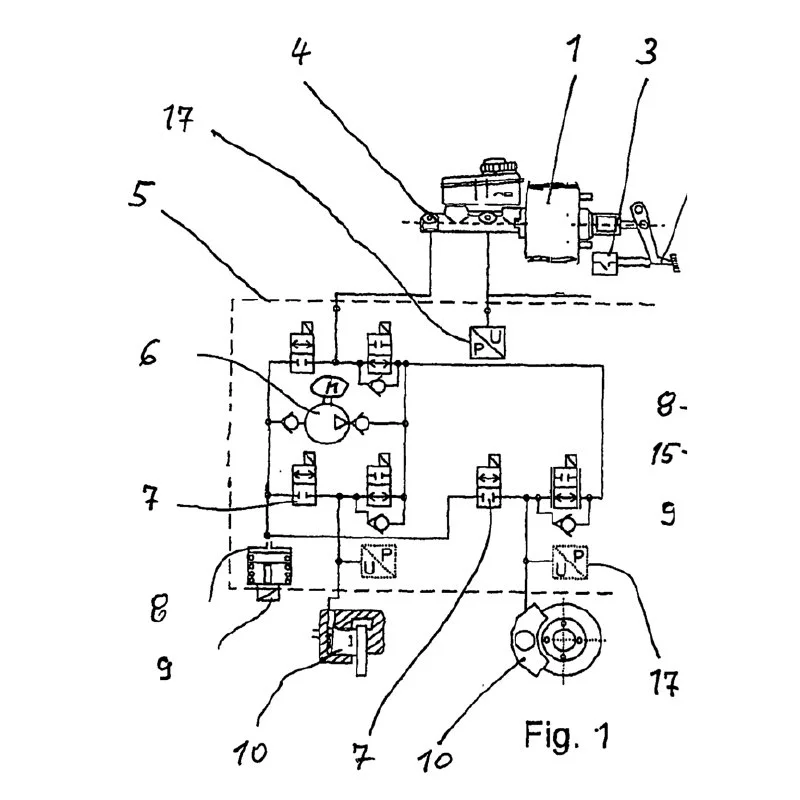
Brake system with a brake booster (1) with drive (11), in which pressure medium can be fed from at least one wheel brake (10) or at least one brake circuit into an accumulator chamber (8) by means of at least one switchable valve (7, 15),
wherein a control device controls at least the at least one switchable valve (7, 15),
wherein in the event of a malfunction of the brake booster (1), if its drive (11) or the transmission interposed between the drive (11) and the piston of the master brake cylinder (4) is blocked,
the at least one storage chamber (8) is used to store pressure medium from the wheel brake or the brake circuit and thus to reduce the pressure in at least one wheel brake,
characterized in that the accumulator chamber (8) is the accumulator chamber provided for an ABS and/or driving stability control function and the accumulator chamber (8) is a closed piston accumulator chamber with a piston preloaded by spring force.
Abstract:
The system uses the spring-loaded ABS/ESP piston accumulator volume as an emergency buffer in order to absorb brake fluid from the affected wheel or brake circuit in the event of a blocked transmission or motor of the brake booster and thus hydraulically relieve the brake master cylinder piston stationary there, so that the wheels do not lock and the vehicle can be safely decelerated or decelerated despite actuator standstill.
Technical Relevance:
The solution presented creates a cost-effective fail-safe path: In the event of a blockage of the brake booster's motor or transmission, the system can use the spring-loaded ABS/ESC accumulator chamber, which is already present, as a hydraulic buffer via a single valve in order to reduce the pressure remaining in the wheel circuit quickly and in a controlled manner. This reliably prevents the brakes from jamming - the vehicle remains steerable and rollable. The functional safety requirements in accordance with ISO 26262 (ASIL D) and ECE R-13H are met without additional components or external energy sources.
This is particularly important in emergency situations - for example, when a vehicle comes to a complete stop after braking, especially on the highway. Without the solution presented, the vehicle could in extreme cases not be set in motion again afterwards despite the accelerator pedal being pressed, which could lead to considerable traffic obstructions and, in the worst case, to serious rear-end collisions.
In addition, a lack of pressure relief in combination with an incomplete return of the brake pedal - even with increased hysteresis - would result in the brake dragging with residual pressure. This can lead to excessive heat build-up when the vehicle is subsequently driven on and, in extreme cases, can even pose a fire hazard.