
E128
17.10.2010
Patent E128 - IP Portfolio A2
Sensor Solutions And PCB Integration
Inventors: H. Leiber, V. Unterfrauner
5 Core Innovations
Patent E128 DE1
Integrated Piston Position Sensing Module for EHB Systems
a)Motor angle sensing (device)
b)Motor angle sensing (method)
2 Claims
Patent Status : Examining
Patent E128 DE2
Integrated Fluid Level Sensor
1 Claim
Patent Status : Granted
Patent E128 EN
Multi-Sensor Brake Actuator Module with Integrated Pedal Travel Sensing
a)Pedal stroke sensing
b)Piston position sensing
2 Claims
Patent Status : Examing
Patent E128DE (DE102011017436A1)
CLAIM 1
Keyword: Multi-Sensor Brake Actuator Module with Integrated Pedal Travel Sensing
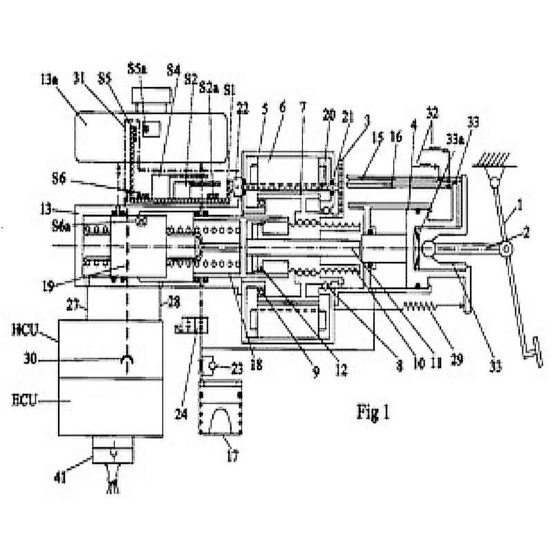
Actuating device for a vehicle brake system, having a first piston-cylinder unit with at least one piston (19), the two working chambers of which can be connected to at least one wheel brake of the vehicle via a hydraulic line (27, 28) in each case,
further comprising an electromechanical drive device and an actuating device, characterized in that a sensor device (31) is provided, which is arranged at least partially in the region of the piston-cylinder unit (13),
wherein the sensor device has a sensor module (31) which comprises at least two sensors (S1, S2, S2a, S4, S6) in one unit, namely on a common printed circuit board,
wherein at least one of the sensors is a pedal stroke sensor (S2, S2a, S4) which can be actuated by means of an actuating element (15, 16) and detects a pedal stroke of the brake pedal (1),
wherein the sensor device (31) is connected, in particular directly contacted, to an electronic control unit (ECU).
Claim Features
Abstract:
The actuating device for a vehicle brake system comprises a piston-cylinder unit with two working chambers, a pedal actuation and an electromechanical drive unit, wherein a compact sensor unit with several integrated sensors - including a pedal stroke sensor - is arranged on a common circuit board and directly connected to the ECU.
Technical relevance:
The technical relevance of this invention lies in the compact, modular integration of several sensor functions directly into the brake actuation unit. It addresses several key challenges of modern brake-by-wire systems
Compact sensor unit (integration of several sensors on a common circuit board saves installation space, reduces plug connections and lowers costs).
Precise pedal stroke detection (the integrated pedal stroke sensor provides an exact electronic driver signal - essential for brake-by-wire).
Safety & diagnostics (Direct ECU connection enables plausibility checks and supports safety requirements according to ISO 26262 (ASIL C/D).
OEM-friendly scalability (The modular PCB solution is easily adaptable for different vehicle classes).
Patent E128DE (DE102011017436A1)
CLAIM 2
Keyword: Integrated Piston Position Sensing Module for EHB Systems
Actuating device for a vehicle brake system, having a first piston-cylinder unit with at least one piston (19) whose two working chambers can be connected to at least one wheel brake of the vehicle via a respective hydraulic line (27, 28),
further comprising an electromechanical drive device and an actuating device,
characterized in that a sensor device (31) is provided, which is arranged at least partially in the region of the piston-cylinder unit (13),
the sensor device having a sensor module (31) which comprises at least one sensor (S1, S2, S2a, S4, S6) in a structural unit, namely on a common printed circuit board, the at least one sensor being a magnetic flux-sensitive sensor (S6) which detects a position of the piston (19) by means of a magnet (S6a) in/on the piston (19),
wherein the sensor device (31) is connected, in particular directly contacted, to an electronic control unit (ECU).
Claim Features
Abstract:
The invention relates to a brake actuating device with an integrated sensor unit comprising a magnetic field-sensitive sensor on a common printed circuit board, which directly detects the piston position via a magnet attached to the piston and is electronically connected to an ECU.
Technical Relevance
The technical relevance of this innovation lies in the direct, integrated detection of the piston position in an electro-hydraulic brake actuation unit. This is a decisive advance for the cost, precision, safety and diagnostic capability of modern brake-by-wire systems.
Patent E128DE1 (DE102011123128.9)
CLAIM 1
Keyword: Integrated Piston Position Sensing Module for EHB Systems
Actuating device for a vehicle brake system, having a first piston-cylinder unit with a piston (19),
whose at least one working chamber can be connected to at least one wheel brake of the vehicle via at least one hydraulic line,
further comprising an electromechanical drive device and an actuating device,
characterized by at least one angle of rotation sensor (S1) which, by means of a target (22), detects an angle of rotation of the electromechanical drive device transmitted to the target (22) via a gearwheel (3) and a shaft (20).
Claim Features
Abstract:
The patent describes an actuating device for a vehicle brake system, in which the angle of rotation of an electromechanical drive unit is transmitted to a target via a gearwheel and a shaft and is detected by means of a rotation angle sensor in order to precisely monitor the piston movement and thus the brake pressure.
Technical Relevance:
The sensor solution described in the patent - the detection of the angle of rotation of the electromechanical drive unit via a gear-wheel-shaft system and a target by means of a rotation angle encoder - enables the position of the pressure-generating piston-cylinder unit to be determined precisely. This feedback forms the basis for model-based pressure control, in particular through piston stroke and piston speed control.
Patent E128DE1 (DE102011123128.9)
CLAIM 7
Keyword: Integrated Piston Position Sensing Module for EHB Systems
MMethod for operating a vehicle brake system, having a first piston-cylinder unit with a piston (19), at least one working chamber of which can be connected to at least one wheel brake of the vehicle via at least one hydraulic line,
further comprising an electromechanical drive device and an actuating device, anda sensor device (31) which is arranged at least partially in the region of the piston-cylinder unit (13), the method comprising the steps of
detecting a rotation angle of the electromechanical drive device transmitted via a gear wheel (3) and a shaft (20) to a target (22) by a
rotation angle sensor (S1) transmitting the detected angle of rotation to an electronic control unit (ECU).
Claim Features
Abstract:
The patent describes an actuating device for a vehicle brake system in which the angle of rotation of an electromechanical drive unit is transmitted to a target via a gearwheel and a shaft and is detected by means of a rotation angle sensor in order to precisely monitor the piston movement and thus the brake pressure.
Technical relevance
The sensor solution described in the patent - the detection of the angle of rotation of the electromechanical drive unit via a gear-wheel-shaft system and a target by means of a rotation angle encoder - enables the position of the pressure-generating piston-cylinder unit to be determined precisely. This feedback forms the basis for model-based pressure control, in particular through piston stroke and piston speed control.
Patent E128DE2 (DE102011123162.9)
Keyword: Integrated Fluid Level Sensor
Actuating device for a vehicle brake system, comprising:
a first piston-cylinder unit, at least one working chamber of which is to be connected or is connected to at least one wheel brake of the vehicle via at least one hydraulic line,
an electro-mechanical drive device and an actuating device, in particular a brake pedal,
an expansion tank which is hydraulically connected to the at least one working chamber,
characterized in that a sensor device (31) is provided,
wherein the sensor device (31) comprises at least one fluid level sensor (S5) in the form of a magnetic flux-sensitive sensor (S5, S5a) which detects at least one magnet (S5a) in a float of the expansion tank (13a),
and wherein the magnetic flux sensitive sensor comprises a Hall sensor (S5) for detecting the magnet (S5a) in the float.
Claim Features
Abstract:
The actuating device for a vehicle brake system comprises an fluid reservoir with an integrated fluid level sensor system, which precisely detects the brake fluid level via a magnet mounted in the float and a Hall sensor.
Technical Relevance:
A Hall sensor-based fluid level sensor is a safety-relevant component for modern electro-mechanical brake systems that detects the loss of braking capability due to fluid loss at an early stage and is particularly suitable for brake-by-wire architectures in which mechanical feedback is no longer available.